7月24日至26日,一段线下、二段线上考生(含未被录取的一段线上考生)正在进行普通类常规批第2次志愿填报(包含剩余本科计划和全部专科计划)。此前,山东省教育招生考试院发布了本科剩余计划,考生可点击链接查看:重磅!剩余本科计划公布,7月24日报志愿!
在这个批次填报志愿,不仅有普通计划,还有省属公费专科医学生、高职院校与本科高校分段培养计划(即“3+2”对口贯通分段培养)、高职院校专项计划、中外合作办学、校企合作等招生类型,都在这个时间段同时填报。
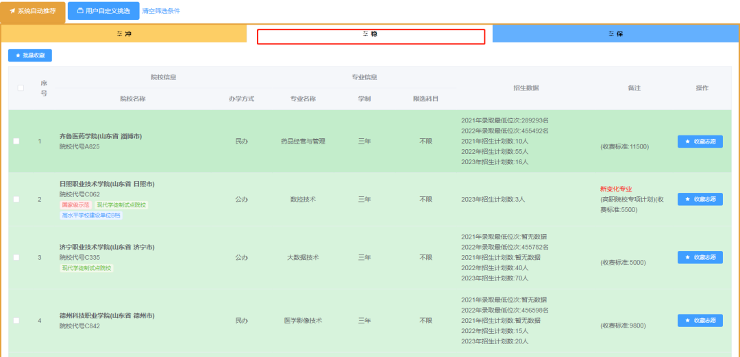
今天,小编为大家整理了校企合作专业往年的录取情况,一起来看~





如果考生想进行更加精准选择适合自己的高职院校,可以借助“山东2023年夏季高考志愿推荐服务系统”。本系统由山东师范大学专家团队倾力打造,面向2023年山东省夏季高考考生提供“山东2023年夏季高考志愿推荐服务系统(公益筛选)”和“山东2023年夏季高考志愿推荐服务系统(智能推荐版)”两个版本。本系统通过分析在山东省招生的各普通高校往年录取情况,结合山东新高考改革各项政策、考生的夏季高考考试成绩、选考科目和报考意向等情况,采用数据统计和拟合转换方法,建立数学模型,突破分科限制,实现准确转换,为考生提供高考志愿参考选项。

微信扫一扫,访问山东2023年夏季高考志愿推荐服务系统
扫码进入
其中,智能推荐版本,是系统利用大数据和人工智能分析,建立基于新高考改革招生录取模式需求的志愿报考推荐模型,实现更为科学、准确、精细筛选和推荐,提供个性化需求的服务方案,智能推荐版可以根据考生的意向城市、院校、专业、办学方式、专业层次等数据筛选出最符合考生心仪条件的报考院校。










则系统给考生推荐的院校全部都是开设土木建筑大类专业的院校,这里考生特别要注意新变化专业。



操作手册

登录方法一:
关注“山东高考一点通”微信公众号,在菜单栏内找到【服务平台】,点击“高考志愿推荐系统”。
登录方法二:
复制网址(http://gkjyfw.com/)到电脑端浏览器打开。
登录方法三:
微信扫码进入。▶

微信扫一扫,访问山东2023年夏季高考志愿推荐服务系统
扫码进入