7月5日,
青岛市教育局官网公布了青岛市民办学校
2018年办学年检第二批学校名单!
全市范围内多所民办学校
停止招生、终止办学!
暑期来临,
家长选择培训机构一定瞪起眼来!
市教育局公布民办学校
2018年办学年检第二批学校名单
根据市教育局官网消息,被公布为不合格等次及限期整改的学校,学校不得开展培训教学活动,不得招收新的学员,整改期为2个月,经教育主管部门重新检查合格后,方可恢复办学。被公布为停止招生、终止办学的学校,要依照有关法律法规及时办理相关手续,做好善后工作。

以下为限期整改停止招生、终止办学的
部分学校名单
↓↓↓
市管学校
限期整改(6所)
↓↓↓

停止招生(4所)
↓↓↓

不合格(3所)
↓↓↓

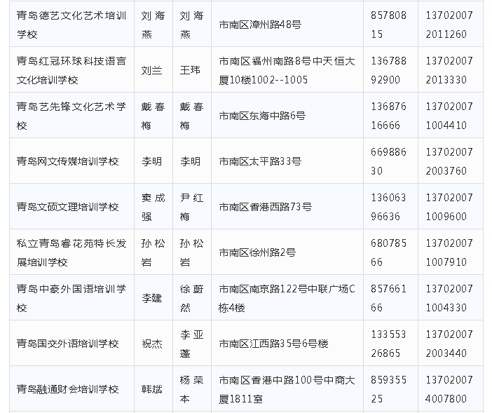
市南区
不合格(58所)
↓↓↓







终止办学(9所)
↓↓↓


崂山区
停止招生(4所)
↓↓↓

不合格(1所)
↓↓↓

终止办学(4所)
↓↓↓

胶州市
终止办学(2所)
↓↓↓

平度市
限期整改(1所)
↓↓↓

终止办学(1所)
↓↓↓

莱西市
不合格(6所)
↓↓↓

由于篇幅有限,
请点击市教育局官网查看!
请大家扩散
让更多人知道!